时间 :2023-03-18 浏览量:
深圳市美裕芯科技有限公司【出售TI芯片】供应ISO6740FQDWRQ1汽车类通用四通道4/0数字隔离器 质量保证 全新原装!!
ISO6740FQDWRQ1产品描述:
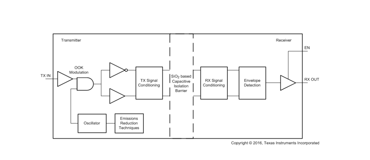
ISO6740FQDWRQ1器件是高性能四通道数字隔离器,可提供符合 UL 1577 的高达 5000VRMS 隔离额定值,非常适合具有此类需求的成本敏感型应用。这些器件还通过了 VDE、TUV、CSA 和 CQC 认证。
ISO6740FQDWRQ1在隔离 CMOS 或 LVCMOS 数字 I/O 的同时, ISO674x-Q1 器件可提供高电磁抗扰度、低干扰和低功耗特性。每条隔离通道的逻辑输入和输出缓冲器均由 TI 的双电容二氧化硅 (SiO2) 绝缘栅相隔离。这些器件配有使能引脚,可用于在多主驱动应用中将各自的输出置于高阻抗状态。 ISO6740-Q1 器件具有四条全部同向的通道, ISO6741-Q1 器件具有三条正向通道和一条反向通道,而 ISO6742-Q1 器件具有两条正向通道和两条反向通道。如果输入功率或信号出现损失,不带后缀 F 的器件默认输出高电平,带后缀 F 的器件默认输出低电平。
ISO6740FQDWRQ1产品参数:
• 提供功能安全
– 可提供用于功能安全系统设计的文档:
ISO6740-Q1、ISO6741-Q1、ISO6742-Q1
• 具有符合 AEC-Q100 标准的下列特性:
– 器件温度等级 1:–40°C 至 +125°C 环境工作温度范围
• 满足 VDA320 隔离要求
• 50Mbps 数据速率
• 稳健可靠的隔离栅:
– 在 1500VRMS 工作电压下具长工作寿命
– 隔离等级高达 5000VRMS
– 浪涌能力高达 10kV
– CMTI 典型值为 ±150kV/μs
• 宽电源电压范围:1.71V 到 1.89V 和 2.25V 到 5.5V
• 1.71V 至 5.5V 电平转换
• 默认输出高电平 (ISO674x-Q1) 和低电平
(ISO674xF-Q1) 选项
• 1Mbps 时的每通道电流典型值为 1.6mA
• 低传播延迟:11ns(典型值)
• 优异的电磁兼容性 (EMC)
– 系统级 ESD、EFT 和浪涌抗扰性
– 在整个隔离栅具有 ±8kV IEC 61000-4-2 接触放电保护
– 低干扰 (EMI)
• 宽体 SOIC (DW-16) 封装
• 安全相关认证:
– DIN VDE V 0884-11:2017-01
– UL 1577 组件认证计划
– IEC 62368-1、IEC 61010-1、IEC 60601-1
ISO6740FQDWRQ1 应用:
• 混合动力、电动和动力总成系统 (EV/HEV)
– 电池管理系统 (BMS)
– 车载充电器
– 直流/直流转换器
– 逆变器和电机控制

版权所有 2022 深圳市美裕芯科技有限公司 电话:+86-13530718420 粤ICP备2022094269号-1